Home Tecnologia Microsoft: gioca breve, fai offerte maggiori – Xbox One, Microsoft, Microsoft Games, Xbox Game Pass, Xbox Series X, Xbox Series S Articolo

Microsoft: gioca breve, fai offerte maggiori – Xbox One, Microsoft, Microsoft Games, Xbox Game Pass, Xbox Series X, Xbox Series S Articolo

0
Microsoft: gioca breve, fai offerte maggiori – Xbox One, Microsoft, Microsoft Games, Xbox Game Pass, Xbox Series X, Xbox Series S Articolo
Il sogno dei produttori e degli editori di videogiochi è quello di poterti inondare di pubblicità nel gioco. In più, è già successo sui dispositivi mobili per molti titoli “gratis”, perché “se è gratis, il prodotto sei tu”. Sul “buono” già pagato, fa rabbrividire la gente. Era Take-Two Dalle una possibilità Con la licenza NBA 2K, Electronic Arts lo aveva in mente Con la Fifae non abbiamo dubbi che stiano solo aspettando di essere pubblicati In uno dei lavori futuri di EA Sports FC. Ecco perché in Factor, rompicopertina di padre in figlio dal 2001, parleremo del cavallo di Troia che Microsoft sta preparando per noi.

L’idea originale è che il marchio Xbox/PC Game Pass offra abbonamenti scontati supportati da pubblicità. Sappiamo prima Grazie al sondaggio apparso su ResetEra, che ha cercato di scoprire quanto un giocatore sarebbe disposto a pagare per un abbonamento con annunci integrati nel servizio. Poi sappiamo anche che grazie a un brevetto recentemente depositato da Microsoft e Avvistato da Gamesual Ciò riguarderebbe la tecnologia che consente di integrare annunci mirati nei giochi online Gioco in nuvola.

Capiamo quindi tutto l’interesse che sta suscitando il colosso di Redmond Una sorta di abbonamento “di prova” più economico ma con annunci in-game, inizialmente su Game Pass Per testare la tecnologia, ma soprattutto per abituare gradualmente i consumatori sprovveduti. Il brevetto non parla di Game Pass, ma di tutti I giochi quindi i piani saranno buoni in modo che a lungo termine possiamo offrire annunci personalizzati abbastanza facilmente, Perché GAFAM ha già molti dati su di noi. sì, Non dovresti fare troppo affidamento su CNIL (Comitato Nazionale per l’Informatica e le Libertà). Le nostre descrizioni:

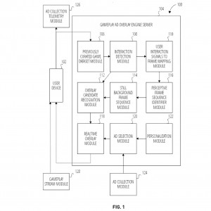
Il metodo di fornire contenuti all’utente durante il gioco include specificare che l’utente sta interagendo con un gioco offerto dall’operatore di streaming online e specificare un periodo di tempo nel gioco durante il quale l’interazione dell’utente con il gioco dovrebbe essere inferiore a un minimo »

Il metodo prevede l’individuazione di una sovrapposizione di contenuto nell’ambiente di gioco durante il periodo e la determinazione del contenuto da visualizzare all’utente. I contenuti devono essere visualizzati tramite un flusso video sovrapposto separato dal flusso del gioco. In tempo reale dal gameplay dell’utente, viene inviato un flusso video sovrapposto da mostrare all’utente insieme al flusso di gioco che fornisce il contenuto all’utente nella posizione specificata per almeno una parte del periodo. »

I giochi per PC stanno diventando sempre più popolari con la disponibilità di piattaforme di gioco basate su cloud. Gli utenti apprezzano la possibilità di scegliere e giocare comodamente dal proprio PC senza l’impegno di costose console di gioco. Per aggiungere interesse e divertimento coinvolgente ai giochi disponibili, vengono prese in considerazione le opzioni di personalizzazione. È più probabile che gli utenti giochino a giochi con caratteristiche specifiche per i loro interessi »

Può essere difficile creare un’esperienza di gioco su misura senza aggiungere funzionalità diverse al gioco originale. Inoltre, la creazione e lo sviluppo di contenuti unici per ciascun giocatore richiederanno uno sforzo significativo da parte del team di sviluppo, che può essere costoso e richiedere molto tempo. »

Come qui descritto, vengono descritti metodi e sistemi per fornire un flusso sovrapposto che viene trasmesso a un dispositivo ricevente (ad esempio, macchina client 702 in Figura 7, macchina utente 102, Figura 1) con il flusso di gioco originale. L’esempio della scena 204 include il giocatore 212 e mostra il banner 210 con una sovrapposizione del banner originale 206 che sostituisce il logo “Tantander” con i loghi Xbox. I loghi Xbox vengono forniti nel contesto della FIG. 2 come esempio della pubblicità che verrà presentata all’utente »

Viene impostata una sovralimentazione per fornire il logo Xbox da visualizzare su una parte del busto della figura. In alcune forme di realizzazione, il flusso di sovrapposizione è configurato per fornire contenuto (ad esempio, una pubblicità) a varie altre posizioni nella scultura. Ad esempio, una figura 408 potrebbe includere più elementi di contenuto in diverse posizioni identificate come spazio pubblicitario, come il petto, le braccia, i pantaloncini e i calzini “.

LEAVE A REPLY

Please enter your comment!
Please enter your name here